Модуль распределения PDM-01-3CL-1Р применяется совместно с моделями однофазных ИБП серий «SR» и «STR» мощностью 1 кВА.
Прибор надежно распределяет электроэнергию от сети или генератора к однофазным нагрузкам через ИБП.
PDM-01-3CL-1Р – это металлический контейнер высотой 3U, который устанавливается в 19-дюймовые направляющие стойки или телекоммуникационного шкафа.
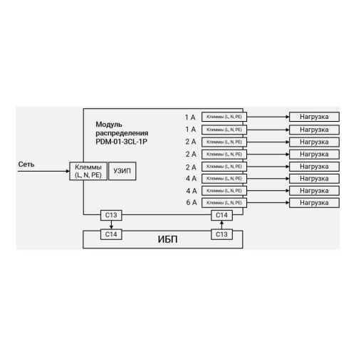
К входной сети устройство подключается через клеммные колодки. Для выходного подключения используются автоматические выключатели: 1хС6, 2хС4, 3хС2 и 2хС1.
Модуль подключается к ИБП с помощью разъемов С13 и С14. Провода для подключения входят в комплект поставки устройства.
Дополнительный функционал: ВРУ (вводно-распределительное устройство) и УЗИП (устройство защиты от импульсных напряжений). Рекомендованный автомат на внешнем РЩ – С16, провод – 1,5 мм².
Внимание!
Выбор конкретной модели модуля распределения серии PDM для модели ИБП определенной мощности зависит от требуемого функционала и количества независимых энерговводов. Точный подбор оптимального решения Вам помогут сделать менеджеры нашего предприятия или наших партнеров.
Схемы подключения
Комплектация
1 | Модуль распределения PDM-01-3CL-1P в составе: | 1 шт. |
|---|---|---|
1. 1 | Автоматические выключатели защиты нагрузки 1 А | 2 шт. |
1. 2 | Автоматические выключатели защиты нагрузки 2 А | 3 шт. |
1. 3 | Автоматические выключатели защиты нагрузки 4 А | 2 шт. |
1. 4 | Автоматический выключатель защиты нагрузки 6 А | 1 шт. |
1. 5 | Автоматический выключатель ИБП | 1 шт. |
1. 6 | УЗИП (устройство защиты от перенапряжения) | 1 шт. |
1. 7 | Розетка С14 для подключения ИБП | 1 шт. |
1. 8 | Розетка С13 для подключения ИБП | 1 шт. |
2 | Кабель С13-С14 для подключения к ИБП | 2 шт. |
3 | Руководство по эксплуатации | 1 шт. |
Страна изготовления | Россия |
Бренд | Штиль |
Вход | |
Номинальная входная частота, Гц | 50 |
Надежность и эксплуатационные характеристики | |
Относительная влажность, % | от 0 до 98 (без конденсата) |
Гарантия | 24 мес. |
Размеры и вес | |
Глубина | 132 мм |
Высота | 132 мм |
Вес | 3 кг |
Другое | |
Ширина | 483 |
Совместимость | однофазные ИБП серий «SR» и «STR»мощностью 1 кВА |
Тип аксессуара | модули распределения |
Число фаз ИБП | 1 в 1 |
Страна производитель | Россия |
Светодиодная индикация | «Сеть», «Нагрузка» |
Диапазон рабочей температуры, С | от +5 до +40 |
Номинальное входное напряжение, В | 220 |
Способ установки | в стойку |
Диапазон температуры хранения, С | от -40 до +40 |
Высота установки в стойку, U | 3 |
Входная сеть | клеммы (L, N, PE) |
Нагрузка (выходные разъёмы) | 1хС6, 2хС4, 3хС2, 2хС1 |
Дополнительный функционал | ВРУ, УЗИП |
Тип входной сети | однофазная, трехпроводная (L, N, PE) |
Тип разъема для подключения к ИБП | IEC-320-С14IEC-320-С13 |
Кабель подключения к ИБП | С13-С14 |
Рекомендованный автомат на внешнем щите | С16 |
Рекомендованное сечение кабеля, мм² | 1,5 |
Цвет корпуса | серый |
Номинальное выходное напряжение, В | 220 |




Доставка по всей РоссииДоставим Ваш заказ в любую точку России курьером или службой доставки, так же есть возможность самовывоза
Оплата любыми способамиСчет для юр. лиц (с НДС), наличными, банковской картой (доп. скидка), электронными деньгами без комиссии.
Мы находимся в Москве и КраснодареПо адресам:Люберцы, ул. Юбилейная, д. 26
Краснодар, п. Знаменский, ул. Трактовая, 13/1.
Приходите мы всегда Вам рады!















































































































